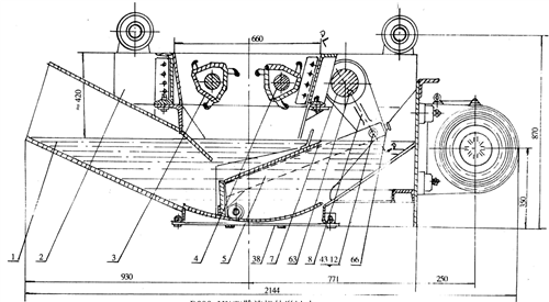
STC型系列马丁式除渣机
该机是装置在6-35T/H链条锅炉排落渣下方,本机主要由碎渣机构,排渣机构,水封槽(机壳)及摆线针轮减速机等组成。煤渣从碎渣机构破随后,落入机壳,然后被推渣机构从出渣口推出。本设备具有碎渣、出渣和水封炉膛等多功能,湿式出渣有利于环境卫生,经破碎后的煤渣,便于输送。该机适用燃烧含焦较高与结焦的煤种。
STC系列马丁式除渣机,经广大用户反映,在原型号的基础上作改进,其优点:
1、 机壳下部R衬板处,改进活动装置,便于维修。由于推渣器的滚轮,经常与R衬板滚动摩擦,容易损坏。改进后便于更换R衬板,延长整机使用。
2、 摆线针轮减速机在运行中碎渣部分受外界力(如铁块、砖块)卡住,受力过大,往往容易将的箱盖、主箱体损坏。现在减速机的端头加支架,使受力均衡,保护箱盖、主箱体等不受损坏。
3、 改进加油润滑系统,将油杯改装在碎渣轴的轴端上,方便加油,保护轴衬的磨损及消耗。
二 STC系列马丁式除渣机技术参数表:
|
机型
项目
|
STC-2
|
STC-3
|
STC-4
|
|
连续排渣量(t/h)
|
1.6
|
2.5
|
4
|
|
适用锅炉出力 (t/h)
|
10
|
20
|
35
|
|
碎渣尺寸(经碾轧后)
|
<100mm
|
<100mm
|
<100mm
|
|
排渣器行程数 (次/分钟)
|
1
|
1
|
1
|
|
锅炉出渣口尺寸(mm)
|
1000×660
|
1250×660
|
1530×660
|
|
摆线减速机
|
|
|
速比
|
731
|
731
|
731
|
|
输出轴(转速/分钟)
|
1
|
1
|
1
|
|
输出扭矩(公斤/米)
|
200
|
200
|
200
|
|
电机功率 (kw)
|
Y90L-6-2.2
|
Y90L-6-3
|
Y90L-6-3
|
三 STC系列马丁式除渣机外形简图:

|